31-12-2018 09:36
04-03-2019 14:45
13-12-2018 12:50
19-09-2022 16:28
BURAYA TIKLA REKLAM VER. Reklam verin ve kazancınızı artırın. Aylık 3.500 TL
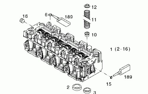
D2011L04-D2011L04W
0430 0316 - 0430 0312
08-10-2024 12:48
05-12-2018 11:18
04-12-2018 14:50
05-12-2018 14:44
21-11-2018 13:04
Kendi özelleştirilmiş stilini belirle
Uygulamanız için mükemmel renk modunu seçin.
Dil yönünüzü değiştirin
Tam ekran modu aç/kapat